
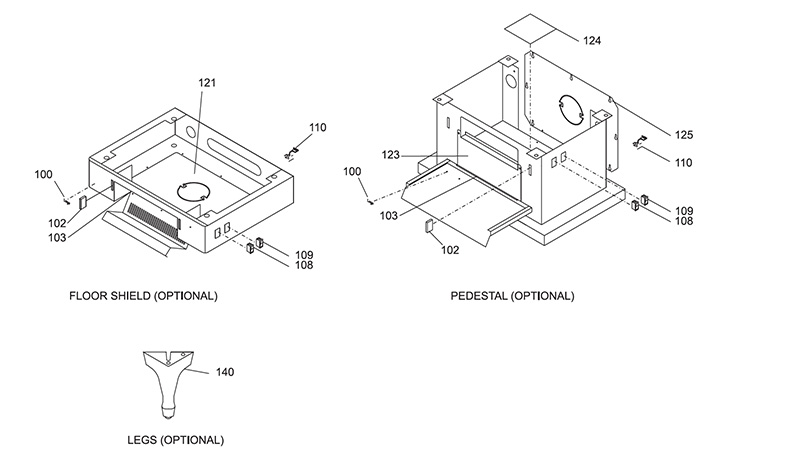
Stocked parts for the Regency C33-3 gas stove are listed below
Call for availability of other parts 800-522-8216



Regency C33-3 Freestanding Gas Stove Wiring Diagram
Regency C33-3 Freestanding Gas Stove Parts List

Stocked parts for the Regency C33-3 gas stove are listed below
Call for availability of other parts 800-522-8216



We use cookies to ensure the basic functionality of this website and to improve your experience. Essential cookies are required for the site to operate (e.g., your shopping cart and session). Analytics cookies help us understand how visitors use our site. Learn more.