
Stocked parts for the Regency P40 gas insert are listed below
Call for availability of other parts 800-522-8216




Regency P40 Gas Insert Wiring Diagram
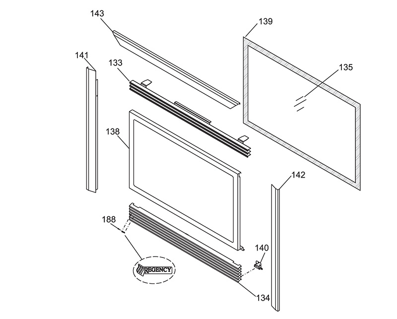
Regency P40 Gas Insert Parts List

Stocked parts for the Regency P40 gas insert are listed below
Call for availability of other parts 800-522-8216




We use cookies to ensure the basic functionality of this website and to improve your experience. Essential cookies are required for the site to operate (e.g., your shopping cart and session). Analytics cookies help us understand how visitors use our site. Learn more.